ACTI’Street - Workout Bank - J5241

Das Gerät J5241 gehört zu der Produktreihe "ACTI’Street". Der Zugang ist ab 14 Jahren möglich. Es bietet Platz für bis zu 1 Nutzer.

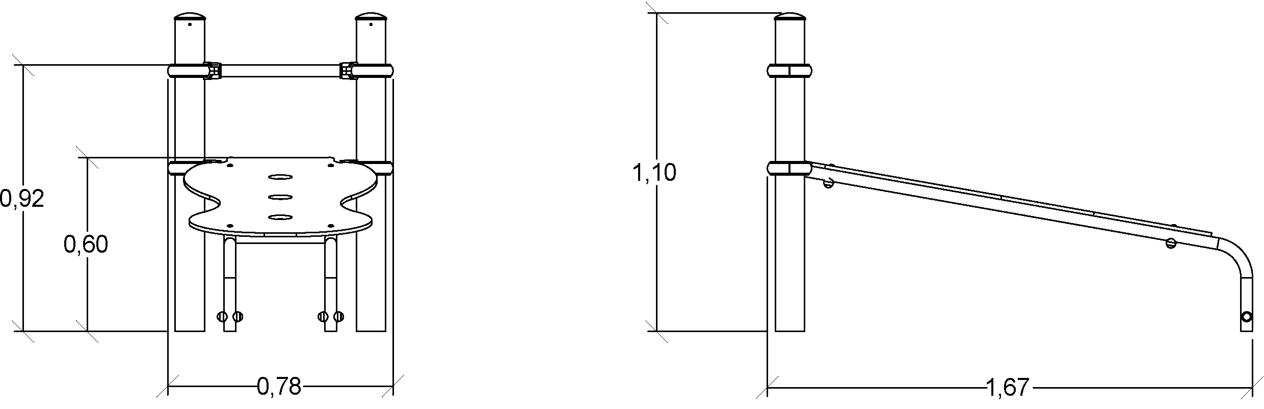
Das Modul hat folgende Abmessungen: 1,65 m Länge, 0,78 m Breite, 1,10 m Höhe. Die Fallhöhe beträgt 0,95 m.

Zusammenfassung

Sport-Gleichung Sport-Gleichung

Sport-Gleichung

Muskuläre Stimulation

Muskuläre Stimulation

2 sportliche aktivitäten

Liegestütze
Liegestütze x1
Liegestütze stärken die Arm-, Brust-, Schulter- und Rumpfmuskulatur und fördern die Körperspannung. Sie verbessern die Kraftausdauer, die Stabilität und schulen die Koordination sowie die Körperkontrolle.
Bauchmuskeltraining
Bauchmuskeltraining x1
Bauchmuskeltraining stärkt die Rumpfmuskulatur, verbessert die Körperspannung und fördert die Stabilität. Es unterstützt eine gesunde Haltung, steigert die Körperkontrolle und trägt zur allgemeinen Fitness bei.

Merkmale

Altersgruppe: 14+
Anzahl der Nutzer: 1 Nutzer
HCL: 0,95 m
Abmessungen: 1,65 x 0,78 x 1,10 m

Installation der Spielgeräte

Anzahl der Installateure: 2
Installationszeit: 02:00:00
Betonvolumen: 0,30 m³
Fläche: 16,00 m²
Gesamtgewicht: 63,16 kg
Gewicht des schwersten Elements: 14,08 kg

Umweltindikatoren

Reparierbarkeit

Reparierbarkeit

9,17 /10

Zertifizierung

Alle Spiele und Sportgeräte in unserem Standardangebot sind von einem unabhängigen Labor zertifiziert.

Materialien

Die Standpfosten

Die Standpfosten (Durchmesser 102 mm) sind aus lackiertem, verzinktem Stahl. Die in zwei verschiedenen Grautönen hammerschlaglackierte Oberfläche hat ein... leichtes Profil und ist so weitgehend unempfindlich gegen Kratzer. Die Schutzkappen sind aus lackiertem Aluminium. Mehr erfahren

Die Stangen

Die Stangen bestehen aus Edelstahl (Durchmesser 40 mm) und sind mit Epoxidharz beschichtet (RAL 9005).

Die Verbindungsstücke

Die Verbindungsstücke sind aus lackiertem Aluminium.

Die farbigen Trespa-Harzkompositplatten

Die farbigen Trespa-Harzkompositplatten (Stärke 13 mm) sind temperatur- und witterungsbeständig sowie widerstandsfähig gegen Vandalismus.

Die Schrauben und Muttern

Die Schrauben und Muttern aus Edelstahl sind zum Schutz gegen Vandalismus durch Schutzkappen aus Polyamid abgedeckt.